注目アイテム

ステンレス(SUS304) プレートフック 8mm

Item Number 10

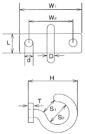
【 仕様一覧 】 材質/ステンレス SUS304 (mm) 品 番 D L W1 W2 H S1 S2 d T 重量 (g) 使用荷重 (kgf) PH-3 3 7.5 25.5 18 20 6.5 8.5 3 2 4 3 PH-4 4 10 34 24 26 8.5 11.5 4 2.5 10 10 PH-5 5 12 40 28.5 32 10 15 5 3 18 15 PH-6 6 14 44 32 37 12 17 5 3 28 20 PH-8 8 16 50 36 49 16 23.5 6 4 54 30 PH-10 10 18 58 40 58 19 29 8 4 91 50 

Item Number 10

Review Count レビュー件数 0件
Review Average レビュー平均 0(5点満点)
Shop Name ショップ 村の鍛冶屋
Price 商品価格 1,289円(税込み)

この商品を買った人は、こちらの商品にも興味をもっています。

こちらも一緒にいかがですか